Egy nemrég publikált szabadalom szerint a Samsung hamarosan debütáló háromfelé hajlítható okostelefonja, amely a szóbeszédek szerint a Galaxy Z TriFold névre fog hallgatni, három különálló akkumulátort rejthet a belsejében. A rendkívül különleges, és minden jóslat szerint brutális árazású okostelefon leleplezésére akár már októberben sor kerülhet.
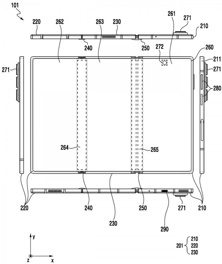
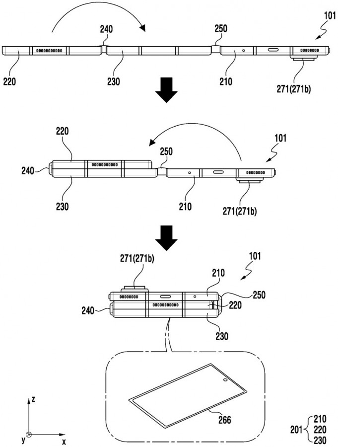
Egy, a KIPRIS, vagyis a Koreai Szellemi Tulajdonjogi Információs Szolgálat által közzétett szabadalmi dokumentum szerint a Samsung első, idénre várt háromfelé hajlítható okostelefonja három akkumulátorcellával fog rendelkezni.
Mivel a készülék három szegmensből áll, mindegyikbe kerül egy telep. A vázlat szerint a legkisebb abban a részben kap helyet, ahol a hátlapi kamerák vannak, a legnagyobb kerül középre, a közepes méretű pedig oda, ahol a külső kijelző található.
A dokumentum nem tér ki az egyes akkumulátorok vagy a teljes telep kapacitására, sem a töltési sebességre. Egyelőre csak reménykedhetünk abban, hogy ezek az értékek jobbak lesznek, mint a Galaxy Z Fold 7 esetében, amelyet a konkurenciához képest eléggé gyenge, 4400 mAh-s akkumulátorral és 25 wattos töltési sebességgel vérteztek fel.
A szóbeszédek szerint a Samsung Galaxy Z TriFold bemutatójára még ebben a hónapban sor kerülhet. A készülék elérhetősége korlátozott lesz, állítólag csak Dél-Koreában és Kínában lesz kapható, habár nemrég érkezett egy értesülés, hogy talán az Egyesült Államokban is piacra kerül.
Ebben a hónapban egyébként még egy másik Samsung termék is érkezik: a cég első, „Project Moohan” kódnévre hallgató Android XR headsetje. Ennek előregisztrációja Dél-Koreában október 15-től 21-ig tart, a hivatalos bemutató pedig október 22-én lesz.
Forrás: GSMArena


